编辑:中煤集团 发布时间: 浏览:
滚轮罐耳动力参数主要包括:罐耳弹性刚度K、罐耳阻尼系数C(或阻尼比N)、滚轮摆动量l和滚轮摆动质量m,其中主要的为K和C。我国目前使用的滚轮罐耳按其弹性阻尼元件可分为橡胶套缓冲式和碟簧缓冲式两类。
胶套缓冲式滚轮罐耳

胶套缓冲式滚轮罐耳主要由滚轮1、橡胶缓冲套2、活动臂3和固定座4组成。
图2(b)是该罐耳的l-P实测曲线,罐耳弹性刚度K=1.5~2.0kN/cm,罐耳无阻尼元件C=0。在安全滑动罐耳限定范围内,即滚轮最 大摆动量lmax=2.0cm时,罐耳的最 大承载能力Pmax=4.0kN。
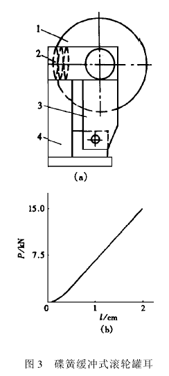
图3(a)是碟簧缓冲式滚轮罐耳,其结构与橡胶套缓冲式滚轮罐耳基本相同。它主要由聚胺脂滚轮1、碟簧2、活动臂3和固定座4组成。
图3(b)是该罐耳的l-P实测曲线,罐耳弹性刚度K=7.0~8.0kN/cm,罐耳无阻尼元件C=0。在罐耳最 大摆动量lmax=2.0cm时,罐耳的最 大承载能力Pmax≤15.0kN。